เครื่องมือขึ้นรูป
HINGE
HINGE TOOL
รูปร่างฟอร์มมิ่ง
กระบวนการที่1
กระบวนการที่2
กระบวนการที่3
การใช้งาน
ขั้นตอนการขึ้นรูปเพื่อทำบานพับ บานพับทำจากสองชิ้น แต่ละชิ้นมีจุดที่เชื่อมต่อกันตั้งแต่หนึ่งจุดขึ้นไป เพื่อสร้างบานพับ
ใช้สำหรับอุปกรณ์เชื่อมต่อที่ประตู บานประตูหน้าต่าง หรือส่วนที่แนบอื่น ๆ ที่หมุน แกว่ง หรือเคลื่อนที่
มุมมองจากด้านบน
บานพับมีขั้นตอนโดยเครื่องมือกดเจาะ เกิดจากการแปรรูปหลายอย่าง เช่น การดัดงอ 90 องศา และการดัดให้เป็นรูปทรงบานพับ
หมายเหตุ
- 1)ต้องใช้สามขั้นตอนในการผลิตบานพับ
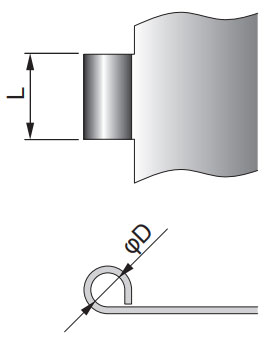
- 2)φD≦φ5
L≦ 15 mm
หากคุณต้องการขนาดอื่น โปรดติดต่อเรา